Serial Number

99649200

Filing Date

Feb 12, 2026

Trademark by

DEMATIC CORP.

Classification Information

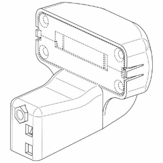
sensor or reflector apparatus for detecting items conveyed on a conveyor system

Electrical and Scientific Apparatus